作者:PA直营日期:2026-02-18浏览:来源:PA直营官网

国家知识产权局信息显示,句容嘉晟汽车配件有限公司取得一项名为“一种中置式VVT电磁阀的密封结构”的专利,授权公告号CN223908916U,申请日期为2025年3月。
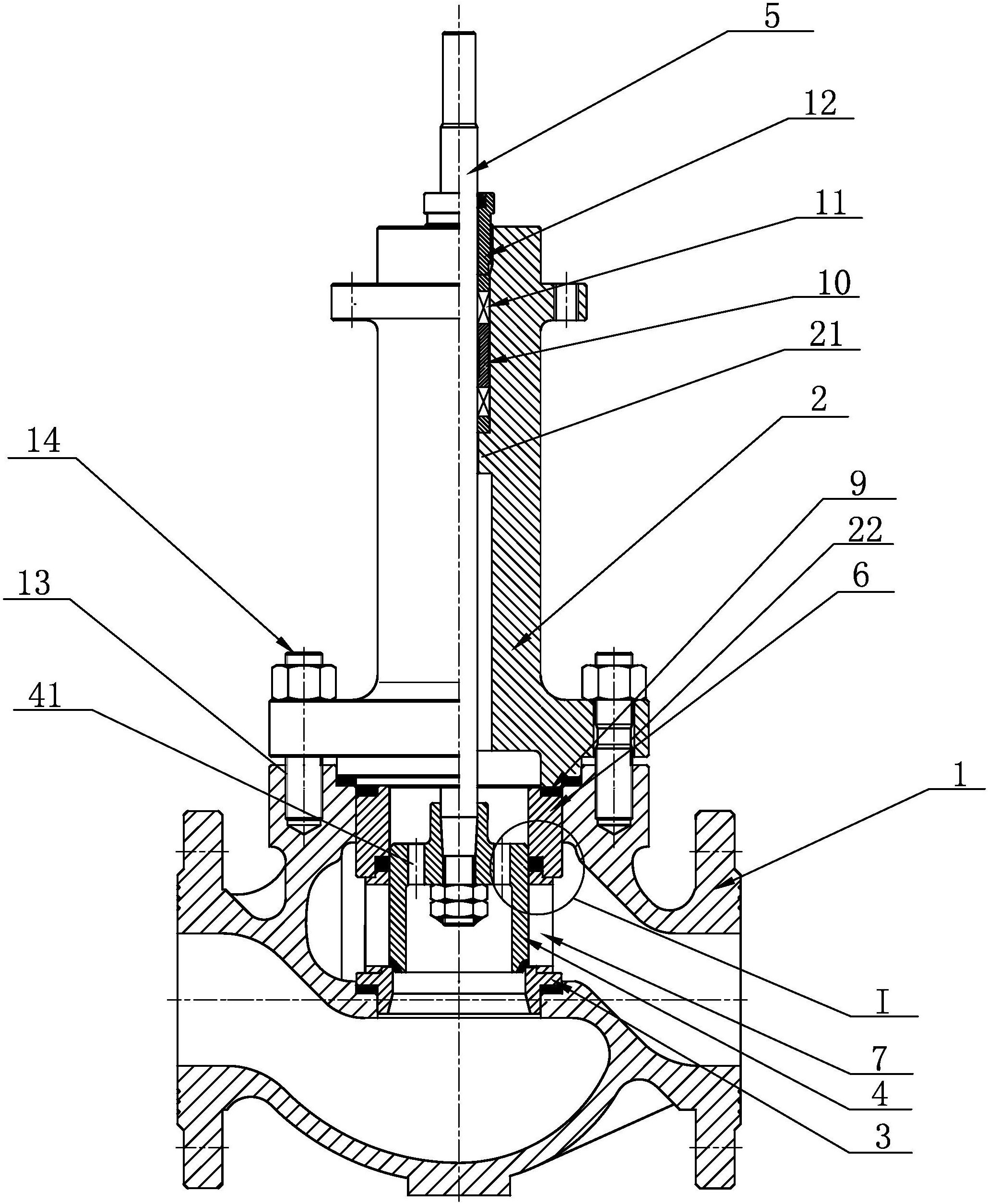
专利摘要显示,本实用新型涉及VVT电磁阀技术领域,提供一种中置式VVT电磁阀的密封结构,包括阀座和法兰盘,所述阀座的两端均固定有法兰盘,所述阀座的顶端固定有阀盖,所述阀盖的底端固定有第一密封圈,所述阀座的内部设置有密封机构,所述密封机构的顶端固定有阀杆。本实用新型通过设置有过滤结构,通过将固定框固定在阀座的进气口,在滤网的作用下,能够过滤介质中的杂质,可以有效保护阀座的内部结构,当卡接块移至卡接槽的外部时,此时固定框与阀座相互分离,以便对滤网进行清理更换,实现了该装置便于过滤杂质的功能,从而提高了该中置式VVT电磁阀的密封结构在使用的适用性。
天眼查资料显示,句容嘉晟汽车配件有限公司,成立于2015年,位于镇江市,是一家以从事汽车制造业为主的企业。企业注册资本1000万人民币。通过天眼查大数据分析,句容嘉晟汽车配件有限公司参与招投标项目1次,专利信息67条,此外企业还拥有行政许可11个。
声明:市场有风险,投资需谨慎。本文为AI基于第三方数据生成,仅供参考,不构成个人投资建议。
特别声明:以上内容(如有图片或视频亦包括在内)为自媒体平台“网易号”用户上传并发布,本平台仅提供信息存储服务。
中国游客称因道路积雪被困俄罗斯“极光村” 超40小时,俄媒:滞留游客都已离开
李敖:王菲之所以高冷,因为她肚子里没墨水,本质是一个愚妇
湖南平江小孩哥小孩姐去派出所拜年领1元红包,不少网友直呼“头一次见”,当地回应:特色年俗,除夕当晚孩子们会挨家挨户送祝福
Kimi母公司月之暗面完成超7亿美元融资,新一轮超百亿美元估值融资开启